https://www.32cars.ru/posts/id-13875-ford-pridumal-sposob-zakrepit-kovriki-tak-chtoby-oni-bolshe-nikogda-ne-skolzili
Коврики под педалью — больше не угроза: Ford решил старую проблему водителей
Ford запатентовал новую систему фиксации автомобильных ковриков
Коврики под педалью — больше не угроза: Ford решил старую проблему водителей
Ford запатентовал новую систему фиксации автомобильных ковриков
2025-10-16T11:07+03:00
2025-10-16T11:07+03:00
2025-10-16T11:16+03:00
/html/head/meta[@name='og:title']/@content
/html/head/meta[@name='og:description']/@content
https://cdn.32cars.ru/uploads/materials/13875/inner/yj82FFkaQYDBqTLRvI0c.jpg
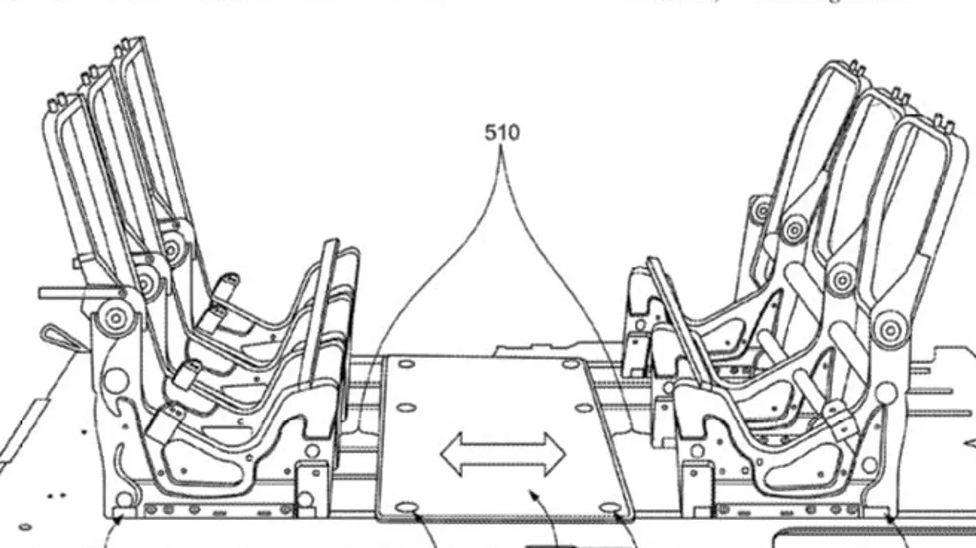
Компания Ford подала патент на новую конструкцию автомобильных ковриков и систему их фиксации, которая может появиться в будущих моделях бренда. Заявка была подана 16 декабря 2022 года и опубликована 14 октября 2025 года под номером 12441222.Согласно документу, система предусматривает использование специальных точек крепления и фиксаторов, соединяющих коврик с направляющей сиденья. Такое решение должно исключить смещение ковриков во время движения — проблему, которая нередко становилась причиной непреднамеренного нажатия педалей и аварий.Ford пояснил, что подача патентов — обычная часть процесса разработки и защиты интеллектуальной собственности. В компании отметили, что даже если подобные идеи не обязательно дойдут до серийного производства, они отражают стремление Ford повышать безопасность и комфорт. Эта технология может появиться в новых авто, где безопасность салона станет ключевым направлением развития.
32 Cars
info@32cars.ru
32 Cars
2025
Мировые новости
ru-RU
32 Cars
info@32cars.ru
32 Cars
32 Cars
info@32cars.ru
32 Cars
Компания Ford подала патент на новую конструкцию автомобильных ковриков и систему их фиксации, которая может появиться в будущих моделях бренда. Заявка была подана 16 декабря 2022 года и опубликована 14 октября 2025 года под номером 12441222.
Согласно документу, система предусматривает использование специальных точек крепления и фиксаторов, соединяющих коврик с направляющей сиденья. Такое решение должно исключить смещение ковриков во время движения — проблему, которая нередко становилась причиной непреднамеренного нажатия педалей и аварий.
Ford пояснил, что подача патентов — обычная часть процесса разработки и защиты интеллектуальной собственности. В компании отметили, что даже если подобные идеи не обязательно дойдут до серийного производства, они отражают стремление Ford повышать безопасность и комфорт. Эта технология может появиться в новых авто, где безопасность салона станет ключевым направлением развития.